V úvodu tohoto speciálu slibujeme, že se budeme věnovat datovým centrům – a nejinak tomu je i v tomto příspěvku, byť dva ze tří zde zmiňovaných tipů pro vyšší efektivitu mohou snadno najít využití i mimo ně. Nabízejí totiž vyšší efektivitu provozu vašich firemních informačních technologií obecně.
V našem článku Datové centrum nemusí být velkým žroutem energie se věnujeme především pohledu na obecnější a již déle využívaná opatření vedoucí k úsporám, zde se pak podíváme především na ta, která z ekonomických důvodů dávají smysl až v posledních letech. Vybrali jsme pro vás tři: Jedním z nich je třeba nahrazení klasických pevných disků disky SSD, dalším pak širší využití stejnosměrného napájení místo střídavého.

SSD disky v serveru datového centra. Foto: IntelAno, stále platí, že je cena za uložený gigabajt dat u SSD významně vyšší než u klasických pevných disků, ale to neznamená, že se použití SSD nevyplatí. Jen pro pořádek: Pokud vás pojem SSD dosud míjel, jde o takzvané Solid-state drive, úložná zařízení, která na rozdíl od klasických pevných disků využívají k ukládání dat elektronické obvody, nikoli rotující magnetické médium.
Významnou výhodou SSD disků je jejich rychlost, díky které jsou s oblibou využívány v dražších noteboocích a PC, ale také nižší spotřeba elektrické energie a nižší produkce tepla. A právě to jsou výhody, které u profesionálních SSD oceníte ve svém datovém centru. Pokud jde o spotřebu, podle zatížení a způsobu použití bývá uváděn poměr 1:3 až 1:10 ve prospěch SSD. Odpovídajícím způsobem je pak nižší i tepelné vyzařování.
Spolu s využitím technik pro optimalizaci ukládání dat (deduplikace, komprese, storage tiering apod.) lze díky nasazení SSD – které samozřejmě nemusí být plošné, ale odpovídající druhu ukládaných dat – významně ušetřit na provozních nákladech.
I další tip platí nejen v datových centrech, ale také v dalších oblastech IT. Automatizace správy zvyšuje efektivitu a snižuje náklady i rizika lidských chyb.
Datové centrum se typicky skládá z velkého množství prvků – od výpočetních systémů přes ty úložné až po podpůrnou infrastrukturu a optimální sladění všech těchto prvků může přinést významné úspory energie. A také úsporu lidské práce, samozřejmě.
Jakkoli může implementace automatizačních řešení vypadat jako komplikovaný úkol – a nelze nepřipustit, že jím do značné míry skutečně je – výhodou je, že lze na trhu dostupná řešení mnohdy pořizovat a implementovat postupně. Začít lze třeba s automatizací infrastruktury datového centra a poté řešit automatizaci cloudu a aplikací. I když lze největší přínosy lze čekat v okamžiku, kdy je automatizován celek, možnost realizovat celý projekt postupně činí prvotní rozhodnutí snazším.
Analytici společnosti Gartner pro letošek předpovídají, že se analytické nástroje stanou všudypřítomnými. Vzhledem k velkým objemům dat generovaným sociálními sítěmi, technologiemi internetu věcí i dalšími, půjde o jediný reálný způsob, jak se s velkým objemem dat srovnat. I když patrně nelze čekat, že tyto nástroje již nyní významně pomohou v současných datových centrech, do budoucna je lze brát jako další prvek automatizace, který by měl přispět nejen k efektivnějšímu byznysu, ale právě také k efektivnějšímu řízení dat v rámci datových center.
P
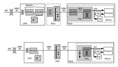
Řešení s 380 V (DC). Zdroj: EPRIoslední tip odborníků se pak týká napájení datových center. Jak známo, elektrická energie je dodávaná ve formě střídavého napětí, které je v datovém centru v napájecích zdrojích jednotlivých systémů převáděno na stejnosměrné. Podobně je střídavé napětí převáděno na stejnosměrné rovněž v záložních zdrojích napájení – odkud je ovšem poskytováno odběrným místům po další konverzi opět jako střídavé.
Institut EPRI (Electric Power Research Institute) již před několika lety vydal studii, podle které lze v případě, že se v datovém centru střídavé napětí na vstupu převede na stejnosměrné a poté se pracuje již jen s ním, ušetří v průměru cca 15 % energie. Na schématu EPRI na této stránce můžete nahoře vidět klasické řešení, dole pak navrhované řešení se střídavým napětím 380 V.
Podle materiálů EPRI je dané řešení vhodné pro velká datová centra a v případech, kdy je k dispozici vybavení schopné standardně pracovat s danými parametry napájení. Jestliže ještě před několika lety se o řešení označovaném prostě 380VDC hlavně mluvilo a probíhalo testování, nyní již jsou k dispozici definice standardů ETSI. Masovější využití tohoto způsobu napájení je tak snad konečně na dosah.
Efektivní využívání informačních technologií je dnes jedním ze základních předpokladů úspěšného byznysu. Ona efektivita má ale více rozměrů: Nejde jen...